
一、產品概述
孔板流量計是將標準孔板與多參數差壓變送器(或差壓變送器、溫度變送器及壓力變送器)配套組成的高量程比差壓流量裝置,可測量氣體、蒸汽、液體及引的流量,廣泛應用于石油、化工、冶金、電力、供熱、供水等領域的過程控制和測量。節流裝置又稱為差壓式流量計,是由一次檢測件(節流件)和二次裝置(差壓變送器和流量顯示儀)組成廣泛應用于氣體。蒸汽和液體的流量測量。具有結構簡單,維修方便,性能穩定

二、工作原理
節流裝置測量流量的原理是依據著名的伯努力流體力學原理。在管道中安放一只節流件,有流體流過節流件時,會在節流件兩側產生一個壓力差(差壓P),這時的流量與差壓的平方根成正比。
三、用途、特點及適用范圍
1、用途:節流式差壓流量計由三部分組成:節流裝置、差壓變送器和流量積算儀。節流裝置是直接安裝于管道上的一次元件,差壓變送器和積算儀屬于二次元件。它主要用于流經管道各種氣體(純凈的或含粉塵的)、蒸汽(飽和或過熱)和液體(導電或不導電;強腐蝕性;粘稠或含有微小顆粒臟污)流量。可直接測量體積流量或質量流量。
2、差壓式流量計(標準孔板)的使用條件、特點及適用范圍
a、使用條件:
1、在測量段,流體必須充滿圓管,并連續不斷地流經節流裝置;
2、流體在物理上和熱力學上必須是均勻的單相流體;
3、節流裝置所測得流體必須是穩定流,或可看作是穩定的緩慢變化的流體,不適用于脈動流和臨界的流量測量;
b、特點及適用范圍:
1、標準節流裝置無須實流標定即可保證其測量精度。(在所有流量計中是唯一的);
2、適用被測介質非常廣泛,幾乎可用于所有氣體、蒸汽和液體的流量測量;
3、適用直徑比β為0.22~0.75,雷諾數ReD≥5000 管道直徑DN50~1000mm,允許外推到5000mm。β=d/D,d—孔板開孔直徑;D—管道實際內徑
4、使用壓力可高達32MPa,也可用于負壓;
5、介質溫度范圍:-30℃~+650℃;
6、智能型差壓式流量計,可根據被測對象流量的變化,通過按鍵或通訊方式現場設定差壓值(規定范圍內),從而改變流量范圍,使系統流量范圍度大大拓寬;
四、分類及結構簡圖
1、分類
①按法蘭夾裝方式分類
1、焊接式 2、法蘭夾裝式
②按取壓方式分類
1、角接鉆孔取壓; 2、角接環室取壓 3、法蘭取壓; 4、徑距取壓;
2、結構及簡圖
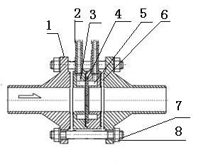
① 圖 1標準環室孔板節流裝置結構圖
1、法蘭 2、導壓管 3、前環室 4、節流件 5、后環室 6、密封墊片 7、螺栓 8、螺母
圖1 標準環室孔板結構圖
五、結構及簡圖
一、各種標準孔板結構,見圖2
圖2
六、產品選型
| 型號 | 型譜說明 |
| YM | 企標 |
| LG | 流量節流裝置 |
| 代號 | 取壓方式 |
| H | 角接環室取壓 |
| Z | 角接鉆孔取壓 |
| F | 法蘭取壓 |
| J | 徑距取壓 |
| 代號 | 節流裝置說明 |
| K | 標準孔板 |
| 代號 | 公稱壓力 |
| -0.6 | 0.6 |
| -1 | 1 |
| -1.6 | 1.6 |
| -2.5 | 2.5 |
| 代號 | 公稱口徑 |
| DN10 | DN10~DN50(螺紋、法蘭) |
| DN50 | DN50~DN800(法蘭) |
| 代號 | 法蘭材質 |
| C | 碳鋼 |
| P | 不銹鋼 |
| H | 合金鋼 |
| 代號 | 介質 |
| 1 | 液體 |
| 2 | 氣體 |
| 3 | 蒸汽 |
| 代號 | 附件 |
| N | 不含附件 |
| F | 配三閥組等 |
| I | 配含F及變送器(附件根據介質、要求選配) |
| DC | 配含F及多參量變送器 |
| O | 用戶指定配置附件 |
七、安裝與使用注意事項
1、核準參數:安裝前務必先核準現場工況條件,確認節流裝置計算書的所有參數與安裝點工況條件參數完全相同后,才可進行安裝,否則必須進行必要的修正或補償。
2、方向:節流裝置的孔板提柄上或法蘭外圓面上分別有“+”、“-”號,“+“為上游側(迎著流體過來的方向),不得裝反。
3、插入深度:環室取壓孔板,插入深度為管道與環室之間距離為2~5mm,但不能將管道頂到環室,否則管道受熱膨脹便會頂壞環室。鉆孔取壓孔板,突入孔板內的管道,任何一點不得擋住取壓孔。
4、系統吹掃:節流裝置安裝完畢既應吹掃,此時應先將節流件(孔板片)拆下,以免管道內雜物刮傷孔板片或堵塞引壓管,待吹掃完成后再裝好,方向為流體流動方向與孔板上的箭頭同向。注意擰緊以保證密封。
5、調零:吹掃安裝完成后,將三閥組中間閥開啟,此時差壓值應為零,如果不是,就必須要歸零,方法是按住左下角按鍵不動20秒鐘,松開后即可。
6、最后將三閥組中間閥慢慢關閉(必須關嚴),正負引壓管上部的截止閥全部開啟,孔板即可正常工作。
7、安裝同軸度要求:節流件與管道必須同心,偏心距離不大于0.0025D,用戶在焊接操作時應予注意或采取必要的措施。
8、孔板一般都要配合差壓變送器使用,導壓管與差壓變送器連接時要注意正負壓不要裝反,“H”為正,“L”為負;
9、正負取壓口引出的導壓管在任何情況下都要保持平行;
10、如必須裝調節閥,則建議最好把調節閥裝在下游計算書上要求的直管段長度之后。
11、被測介質為氣體或蒸汽且溫度和(或)壓力有較大波動時,應進行溫度和(或)壓力補償。壓力變送器裝設在上游1D處,熱電偶裝設在下游1D處。
12、在差壓訊號管線上不得有可能積留液體或氣體的袋形空間,如不能避免時,應裝設集氣器(或排氣閥)和沉降器(或疏水器)。
13、變送器零點漂移也會引起測量誤差,使用過程中應定期對差壓變送器進行校準。
14、除須經常對導壓管進行檢查,以防堵塞外,對室外的導壓管應予適當保溫,以防凝固或凍結。如管線(垂直段)相當長,應避免由于溫差導致的虛假壓差,此時建議把兩根差壓管線靠近敷設并一起包在保溫層內。
15、差壓管線應有支架,以避免振動和有力作用在差壓計上。
16、節流裝置現場吊裝時,嚴禁用鐵絲、鋼絲、吊鉤穿入節流件喉部孔徑,以防止銳口損傷,影響精度;
17、節流裝置使用一段時間后,由于液體中有固體顆粒,氣體中有液體小滴或其它雜質,尖銳的入口將被磨鈍,從而使流出系數增大,造成附加誤差,此時應考慮調換節流件;另外,節流裝置長期使用后,在孔板上游側下角容易堆積污物,這會使流出系數變化,因此要定期檢查,排除污物。
18、導壓管:導壓管的材質應按被測介質的性質和參數而定,其內徑過小和長度太長會使信號嚴重滯后或失真,建議參照表(一)確定。
表(一) 導壓管的內徑和長度
19、不同介質安裝位置選擇:
氣體取壓口最好在管道上部;液體取壓口在側面以下,但不要在正下方,沉積顆粒會堵塞取壓口;蒸汽的取壓口在管道側面;如下圖:
一、在水平管道上的安裝要求
1、如圖4和5所示:測量液體和水蒸汽介質流量時,取壓管口最佳安裝角度為0°和180°;如果在0°和180°不可能安裝時,可在0°~60°和120°~180°范圍內選擇。但差壓變送器必須垂直安裝在三閥組的垂直端面上。
2、如圖6所示:測量氣體介質流量時,取壓管口最佳安裝角度為270°,如果在270°不可能安裝時,可在210°~270°和270°~330°范圍內安裝。但差壓變送器必須水平安裝在三閥組頂水平面上。
二、在垂直管道上安裝要求
1、圖7所示:在水蒸汽和液體介質流量測量時,差壓變送器安裝在垂直管道低端取壓口一側,且垂直安裝在低於取壓口的三閥組板垂直端面。
2、如圖8所示:在氣體介質流量測量時,差壓變送器安裝在垂直管道高端取壓口一側,且水平安裝在高於取壓口的三閥組板水平端面上。八、一體化節流裝置
一體化節流裝置是由流量計生產廠家按照用戶的要求將節流裝置與截止閥、冷凝器(或冷凝圈)、引壓管、三閥組和差壓變送器組裝在一起。貨到只需將其法蘭與管道焊接和接入差壓變送器電纜即可投入使用。其結構與組成示意圖見圖9。
圖9